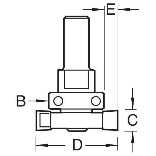
Trend Tools TR46X1/2TC Intumescent Cutter Set 20Mm X 40Mm

Trend ToolsSKU: TREND-TR46X1-2TC

Price:
Sale price£67.99

Description

Recently viewed