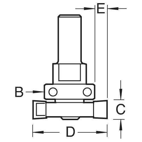
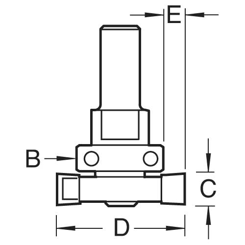
Trend Tools TR41X1/2TC Intumescent Cutter Set 10Mm X 40Mm

Trend ToolsSKU: TREND-TR41X1-2TC

Price:
Sale price£49.99

Description

Recently viewed