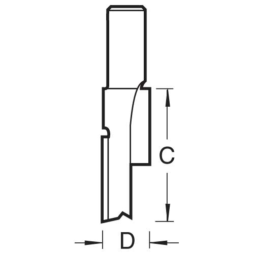
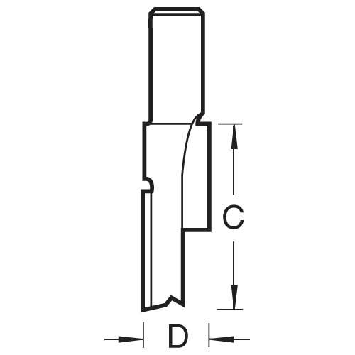
Trend Tools TR36X12MMTC Staggered Mortise Cut 16Diameter

Trend ToolsSKU: TREND-TR36X12MMTC

Price:
Sale price£43.99

Description

Recently viewed