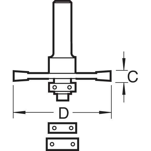
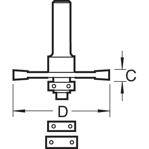
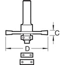
Enables biscuit jointing with timber, man-made fibre and particle board. The correct choice of bearing will ensure the correct depth of cut for biscuit sizes No.0, 10 & 20.
Specifications
D=29/64 inch
D=37.2 mm
C=4 mm
B=12.7 mm
Shank Diameter=1/2 inch
OL=64 mm
Recently viewed
Changed your mind?
We'll do our best to resolve any issues with your order.
Top-notch support
Need help choosing the right product? We're always happy to help!