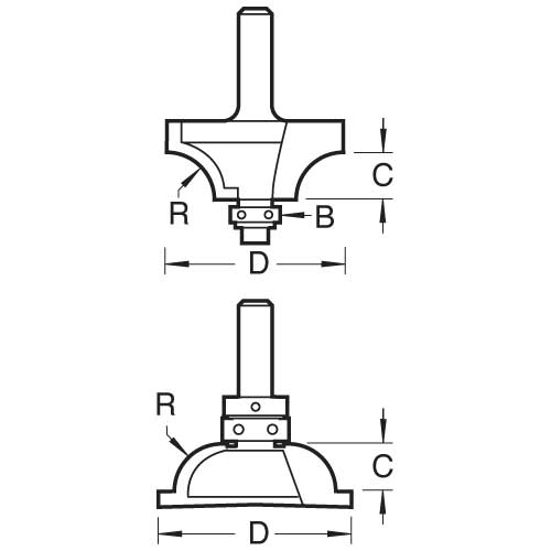
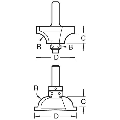
Trend Tools SSP/1X1/4TC Shoulder Scribe/Profile Set

Trend ToolsSKU: TREND-SSP-1X1-4TC

Price:
Sale price£126.99

Description

Recently viewed