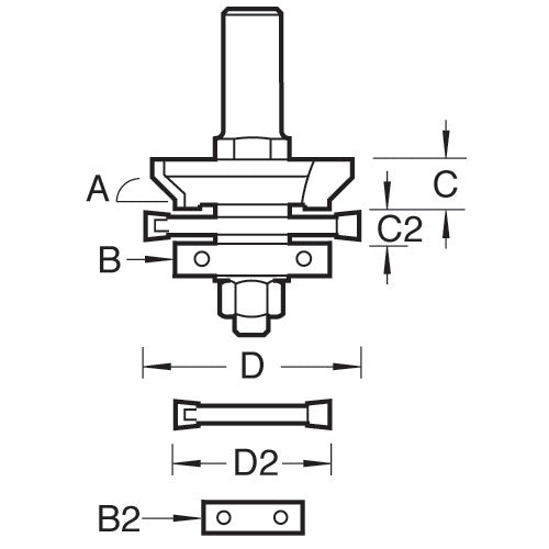
Trend Tools SP-C255C Groover Cutter 6Mm X 47Mm Dia

Trend ToolsSKU: TREND-SP-C255C

Price:
Sale price£19.99

Description

Recently viewed