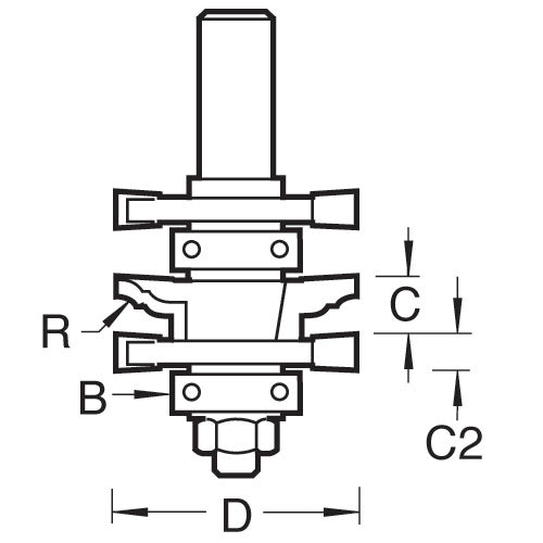
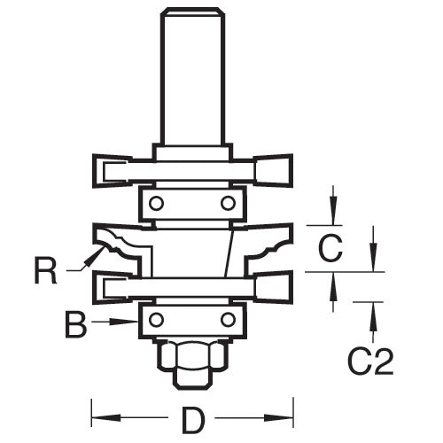
Trend Tools PSC/103X1/2TC Easyset Profile Scribe Set

Trend ToolsSKU: TREND-PSC-103X1-2TC

Price:
Sale price£120.99

Description

Recently viewed