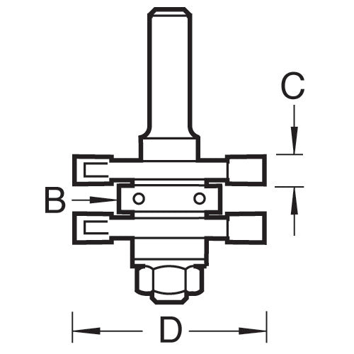
Trend Tools C158X8MMTC Tongue And Groover Set 41Mm Diameter

Trend ToolsSKU: TREND-C158X8MMTC

Price:
Sale price£45.99

Description

Recently viewed