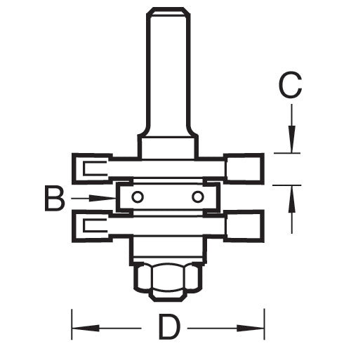
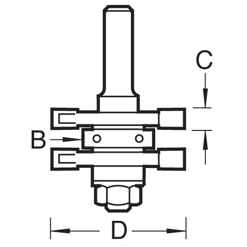
Trend Tools C158X1/4TC Tongue And Groover Set 41Mm Diameter

Trend ToolsSKU: TREND-C158X1-4TC

Price:
Sale price£45.99

Description

Recently viewed