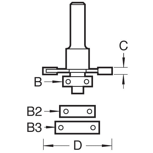
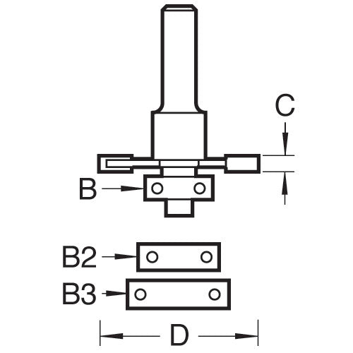
Trend Tools C152X12MMTC Biscuit Jointer Set

Trend ToolsSKU: TREND-C152X12MMTC

Price:
Sale price£43.99

Description

Recently viewed