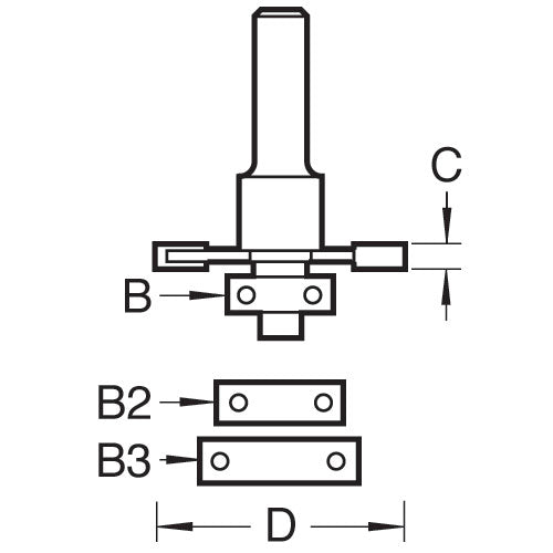
Trend Tools C152X1/4TC Biscuit Jointer Set

Trend ToolsSKU: TREND-C152X1-4TC

Price:
Sale price£43.99

Description

Recently viewed