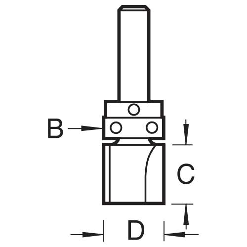
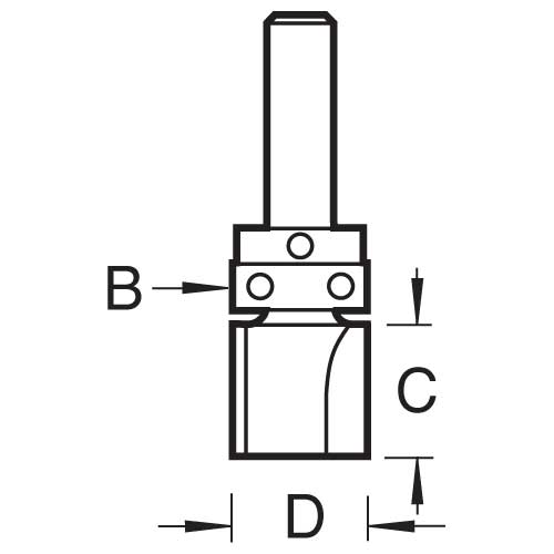
Trend Tools C121PX1/4TC Template Profile 9.5Mm Diameter

Trend ToolsSKU: TREND-C121PX1-4TC

Price:
Sale price£30.99

Description

Recently viewed