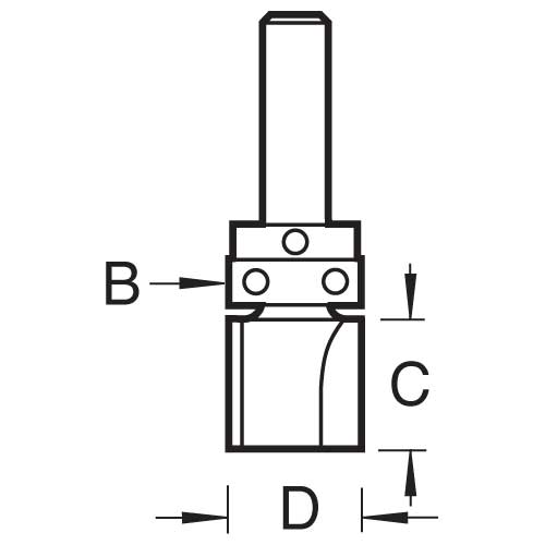
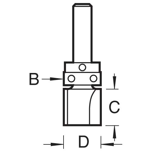
Trend Tools C121NX1/4TC Template Profile 12.7Mm Diameter

Trend ToolsSKU: TREND-C121NX1-4TC

Price:
Sale price£23.99

Description

Recently viewed