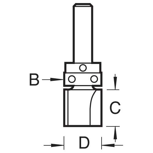
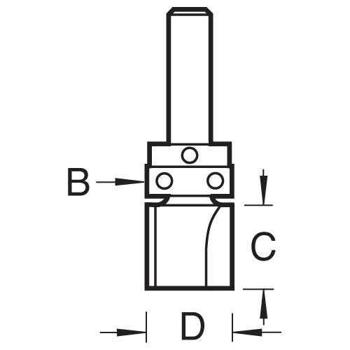
Trend Tools C121KX1/4TC Template Profile 12.7Mm Diameter

Trend ToolsSKU: TREND-C121KX1-4TC

Price:
Sale price£20.99

Description

Recently viewed