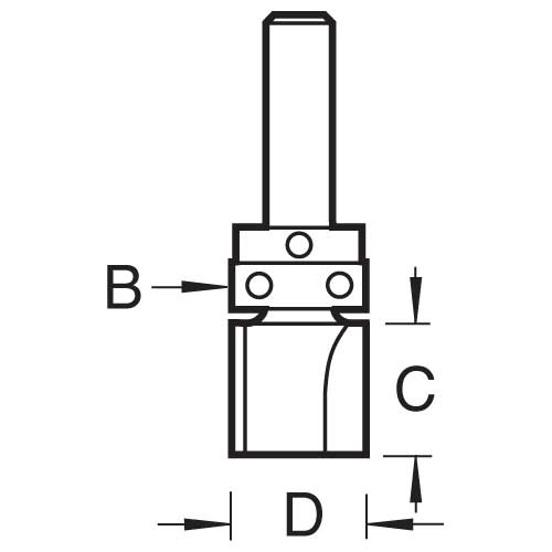
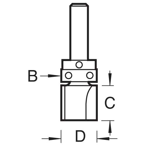
Trend Tools C121HX1/4TC Template Profile 9.5Mm Diameter

Trend ToolsSKU: TREND-C121HX1-4TC

Price:
Sale price£19.99

Description

Recently viewed