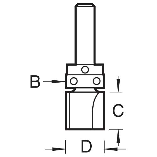
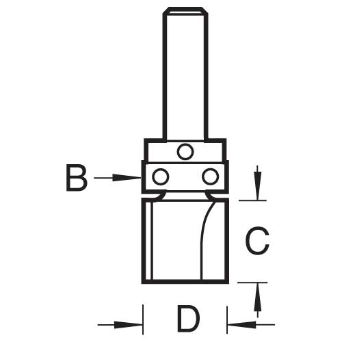
Trend Tools C121GX1/4TC Template Profile 9.5Mm Diameter

Trend ToolsSKU: TREND-C121GX1-4TC

Price:
Sale price£15.99

Description

Recently viewed