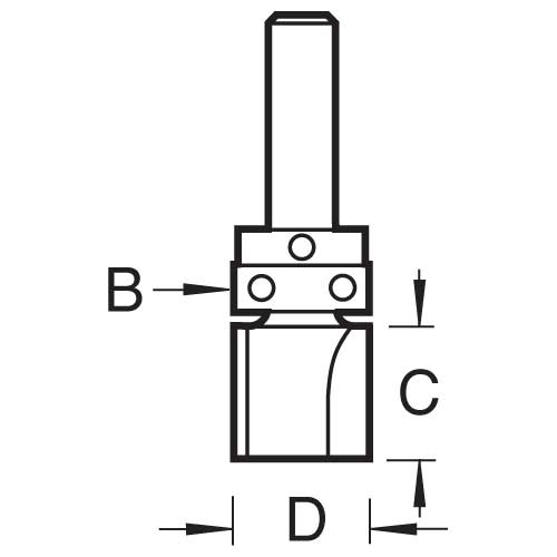
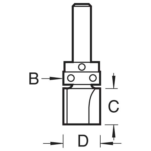
Trend Tools C121FX1/4TC Template Profile 12.7Mm Diameter

Trend ToolsSKU: TREND-C121FX1-4TC

Price:
Sale price£24.99

Description

Recently viewed