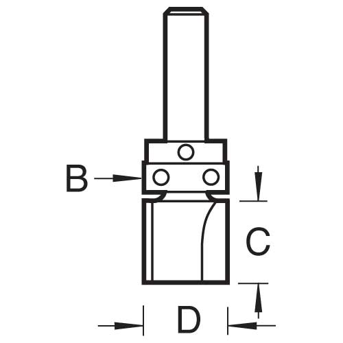
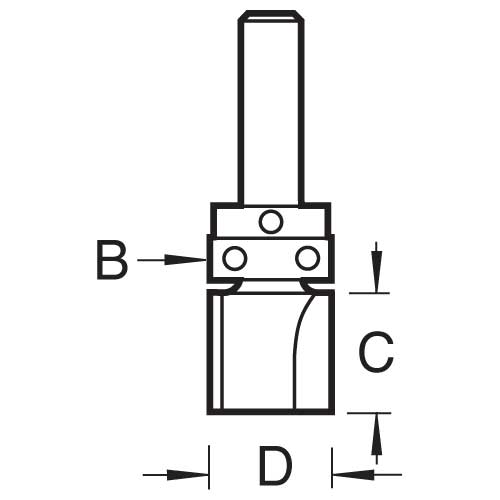
Trend Tools C121EX1/4TC Template Profile 15.9Mm Diameter

Trend ToolsSKU: TREND-C121EX1-4TC

Price:
Sale price£24.99

Description

Recently viewed