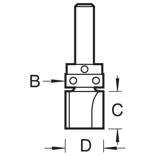
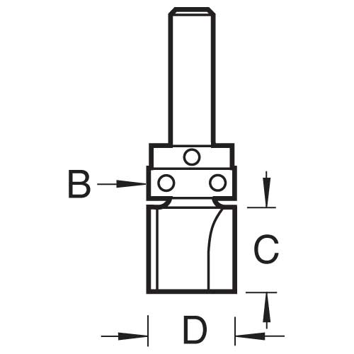
Trend Tools C121CX1/4TC Template Profile 15.9Mm Diameter

Trend ToolsSKU: TREND-C121CX1-4TC

Price:
Sale price£34.99

Description

Recently viewed