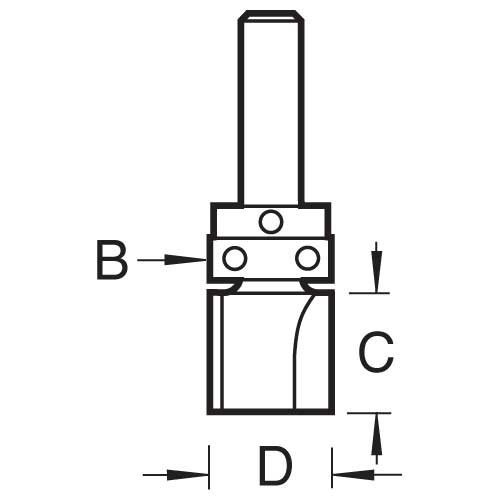
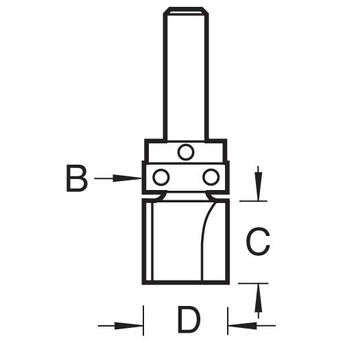
Trend Tools C121AX8MMTC Template Profile 16.0Mm Diameter

Trend ToolsSKU: TREND-C121AX8MMTC

Price:
Sale price£26.99

Description

Recently viewed