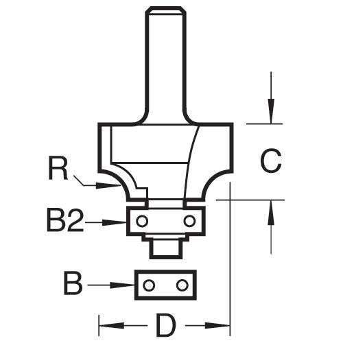
Trend Tools C079AX1/2TC Rounding Over 19Mm Radius X 25Mm Cut

Trend ToolsSKU: TREND-C079AX1-2TC

Price:
Sale price£54.99

Description

Recently viewed