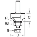
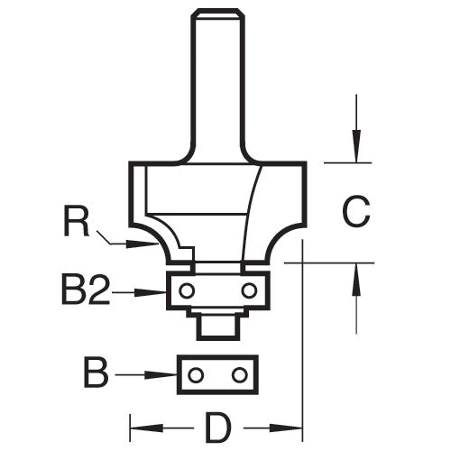
Trend Tools C078AX1/4TC Rounding Ove 11.1Mm Radius X 18Mm Cut

Trend ToolsSKU: TREND-C078AX1-4TC

Price:
Sale price£40.99

Description

Recently viewed