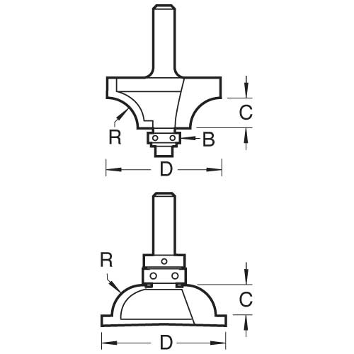
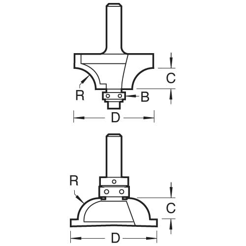
Trend Tools C077AX1/4TC Shoulder Profile Cutter

Trend ToolsSKU: TREND-C077AX1-4TC

Price:
Sale price£54.99

Description

Recently viewed