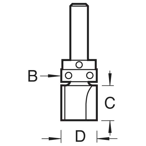
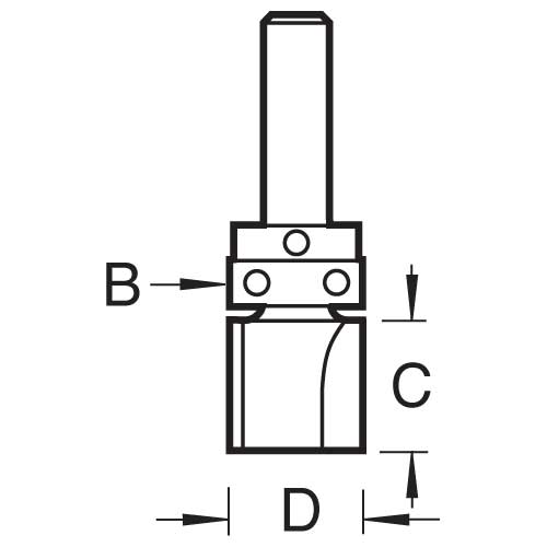
Trend Tools 46/910X1/4TC Guided Profiler 12.7Mm Dia X 4Mm Cut

Trend ToolsSKU: TREND-46-910X1-4TC

Price:
Sale price£29.99

Description

Recently viewed