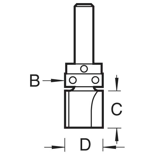
Trend Tools 46/904X1/4TC Guided Profiler 9.5Mm Dia X 32Mm

Trend ToolsSKU: TREND-46-904X1-4TC

Price:
Sale price£48.99

Description

Recently viewed