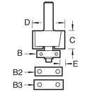
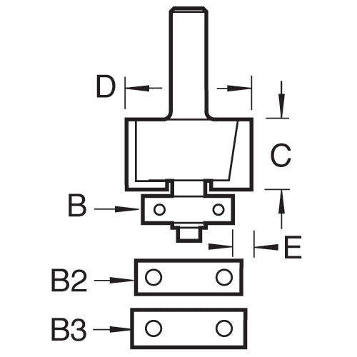
Trend Tools 46/44X8MMTC 24Mm Rebater

Trend ToolsSKU: TREND-46-44X8MMTC

Price:
Sale price£68.99

Description

Recently viewed