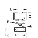
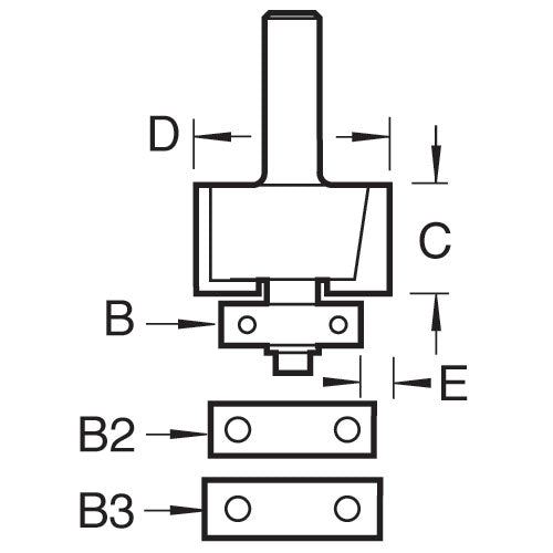
Trend Tools 46/44X1/4TC 24Mm Rebater

Trend ToolsSKU: TREND-46-44X1-4TC

Price:
Sale price£68.99

Description

Recently viewed