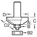
Trend Tools 46/34X1/2TC Bearing Guided Bevel Cutter 25 Degrees

Trend ToolsSKU: TREND-46-34X1-2TC

Price:
Sale price£62.99

Description

Recently viewed