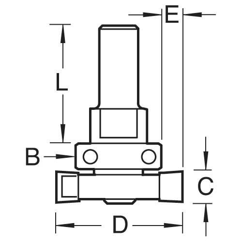
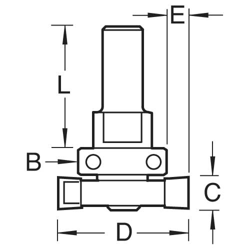
Trend Tools 356X1/2TC Intumescent Cutter Set 25Mm X 40Mm

Trend ToolsSKU: TREND-356X1-2TC

Price:
Sale price£93.99

Description

Recently viewed