Machining of traditional panels and frame doors, formerly done on spindle moulders, can now be performed with heavy duty routers mounted in fixed positions, either overhead or inverted. These Raised Panel cutters run best at lower speeds and match our range of profile scribers. All are suitable for use on natural timber and MDF.
8mm hank tools are for use with medium and heavy duty routers only.
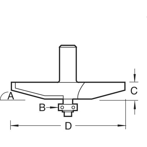
Suitable panel mould for use with Ref. PSC/5. Available as set Ref. PDS/5.
Specifications
D=86 mm
C=1/2 inch
C=12.7 mm
B=12.7 mm
A=15 degrees
OL=71 mm
Shank Diameter=1/2 inch
For stationary machines at max. recommended speed 12,000 RPM
Recently viewed
Changed your mind?
We'll do our best to resolve any issues with your order.
Top-notch support
Need help choosing the right product? We're always happy to help!